HXGN15A-12(F、R)箱型固定式交流金属封闭环网开关柜,是为城市电网改造和建设需要而生产的新型高压开关柜。在供电系统中亦作为开断负荷电流和短路电流以及关合短路电流之用,适用于交流3~10KV/50Hz的配电系统中。广泛地用于城市电网建设和改造工程、工矿企业、高层建筑和公共设施等,作为环网供电单元和终端设备,起着电能的分配、控制和电气设备的保护作用,也可装在预装变电站中。本环网柜配用真空负荷开关,弹簧操动机构,该机构既可手动操作,也可电动操作。接地开关和隔离开关配用手力操动机构,本环网柜成套性强、体积小、无燃烧和爆炸危险,具有可靠的“五防”功能。本环网柜符合GB3906《3~35KV交流金属封闭开关设备》、IEC60420《高压交流负荷开关-熔断器组合电器》标准的有关规定。
1型号含义
2正常使用条件
1. 周围空气温度:-15℃~+40℃;
2. 海拔高度:1000m及以下;
3. 湿度条件:日平均相对温度≤95%,日平均水蒸气压力不超过2.2Kpa,
月平均相对温度≤90%,月平均水蒸气压力不超过1.8Kpa;
4. 地震烈度:不超过8度;
5. 没有腐蚀性或可燃性气体等明显污染的场所。注:超出上述正常使用条件时,用户可与本公司协商解决。
3技术参数
4机械特性技术参数
5环网供电原理
环网供电一般由三个基本单元组成(见图1)进出线柜作为环网单元,当任一线路出现故障时,能及时隔离,并由另一单元保证用户变压器支路连续供电。用户回路环网柜对变压器起着保护和隔离作用,便于维护检修。
环网柜可任意延展,并可根据用户要求由基本单元构成多种组合方案。
6结构特点
结构性能特点
1. 环网柜采用8MF型材组装,全构架安装模数孔E=20mm。
2. 环网柜主配FZN21-12D型负荷开关或FZRN21-12D型熔断器组合电器,该型电器带有隔离开关、真空负荷开关、接地开关,且隔离开关及接地开关均有明显断口。
3. 隔离开关、真空负荷开关、接地开关、柜门具有完善可靠的机械联动、联锁装置,能有效防止误操作,并确保安全维护。
4. 可手动、电动操作。
5. 计量柜的柜门、仪表门设有铅封销子。
6. 熔断器组合电器柜、熔管带有撞针。短路情况下,撞针撞击跳闸机构,实现快速开断,能有效保护电器设备。
7. 环网柜采用正面操作,可靠墙安装。
“五防”闭锁功能
1. 送电操作:只有当柜体门关闭并锁定,操作接地开关到“打开”位置,才能操作负荷开关至合闸位置。
2. 停电操作:当负荷开关处于隔离位置,才能关合接地开关,接地开关处于合闸位置时,插入绝缘隔板到位,才能打开柜门。
3. 真空灭弧室与隔离刀有可靠的联锁,而隔离刀与接地刀互为联动,并与柜门联锁,绝缘隔板与柜门也有联锁。
7主电路方案图
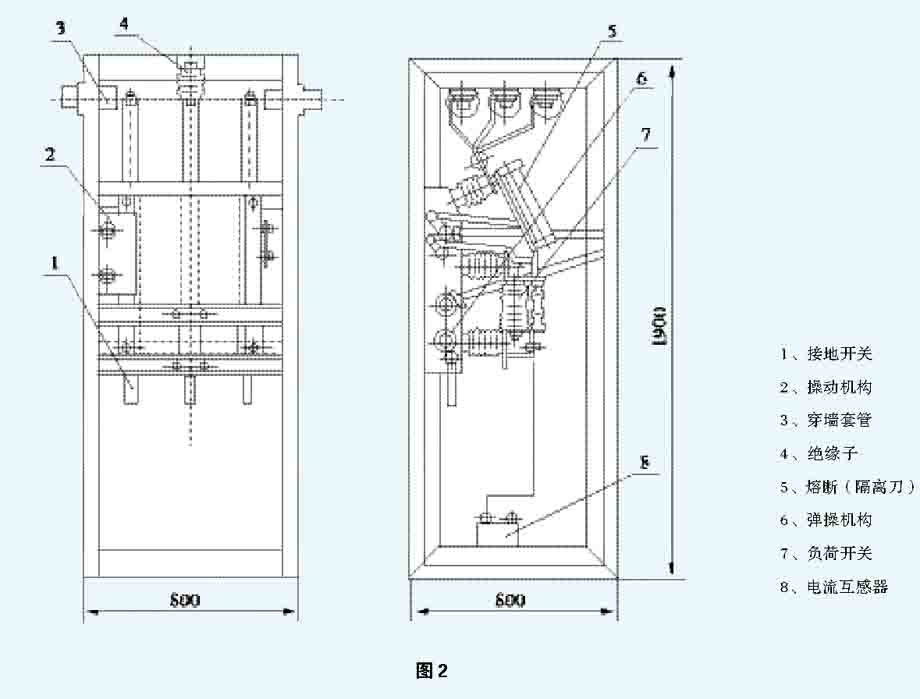
8外形及安装尺寸
9订货须知
订货时须提供下列资料:
1、主电路方案、编号或主电路组合排列图。
2、辅助电路电气原理图及控制回路电压。
3、开关设备平面布置图。
4、如需非标主电路及线路方案,可委托本公司设计、生产。
5、其它特殊使用条件。